SK型直聯水環式真空泵結構說明
時間:2013-2-24 來源:揚子江泵業 瀏覽數:660
|
一、SK型直聯水環式真空泵概述: 二、SK型直聯水環式真空泵特點: 三、SK型直聯水環式真空泵使用范圍: |
|||||||||||||||||||||||||||||||||||
四、SK型直聯水環式真空泵的型號意義: ![]() 五、SK型直聯水環式真空泵的技術參數表: |
|||||||||||||||||||||||||||||||||||
|
|||||||||||||||||||||||||||||||||||
| 注:SK型直聯水環式真空泵性能表中數據在下列條件下得出: 1、大氣壓力0.1013Mpa(760mmHg) 2、進水溫度15℃ 3、吸入空氣溫度20℃ 4、空氣相對濕度70% 5、性能允許偏差±10% |
|||||||||||||||||||||||||||||||||||
六、SK型直聯水環式真空泵的性能曲線圖: ![]() |
|||||||||||||||||||||||||||||||||||
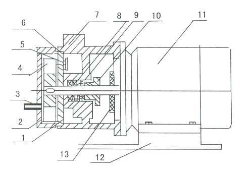
| 七、SK型直聯水環式真空泵結構說明: | |||||||||||||||||||||||||||||||||||
![]() 圖(1)SK型直聯水環式真空泵結構圖 |
|||||||||||||||||||||||||||||||||||
|
|||||||||||||||||||||||||||||||||||
SK型直聯水環式真空泵的結構如圖(1)所示:主要是由泵蓋、葉輪、泵體組成,泵體上部有進排氣口法蘭,軸偏心裝在泵體內,葉輪用平鍵固定于軸上,葉輪與泵蓋及圓盤間的間隙,用泵體和圓盤之間間的墊子來調整,此間隙決定氣體在泵內由進氣口至排氣口流動中損失的大小。 SK型直聯水環式真空泵填料裝在泵體內,密封水經泵體上的針孔流入填料中,葉輪形成水環所需的補充水經由泵體上的彎頭供給,它可與自來水或汽水分離器聯在一起,供給循環水。 在SK型直聯水環式真空泵圓盤上排氣孔下面有幾行圓孔,用橡皮球閥關閉,這些孔的作用是當葉片間氣體壓力達到排氣力時,在排氣口之前就將氣體自動放出,因此減少因氣體壓力過大而消耗功率。 |
|||||||||||||||||||||||||||||||||||
| 八、SK型直聯水環式真空泵的工作原理: | |||||||||||||||||||||||||||||||||||
![]() 圖(2)SK型直聯水環式真空泵的工作原理圖
|
|||||||||||||||||||||||||||||||||||
如圖(2)所示,葉輪偏心地安裝在泵體內,SK型直聯水環式真空泵起動時,向泵內注入一定高度的水,當葉輪旋轉時,水受離心力的作用而在泵體內壁形成一旋轉水環,水環下部內表面與輪轂相切,沿箭頭方向旋轉時,在前半轉過程中,水環內表面逐漸與輪轂脫離,因此在葉片間形成空間并逐漸擴大,內部壓力低于入口處壓力,此時吸入氣體。在后半轉過程中,水環內表面逐漸與輪轂靠近,葉片間的空間容積縮小,氣體壓力高于大氣壓時被排出。如此葉輪反復工作,SK型直聯水環式真空泵就連續不斷地抽吸氣體。 由于在工作過程中,水會隨工作時間的延續而發熱,同時部分水會與氣體一起被排出,因此,工作過程中須不斷地向SK型直聯水環式真空泵內供給冷水,以冷卻和補充泵內消耗的水。 |
|||||||||||||||||||||||||||||||||||
九、SK型直聯水環式真空泵的安裝尺寸圖: 1、用膠管或塑料管將水咀(見圖1中3)與自來水連接進行供水,并在此供水管路上安裝水閥調節水量。(供水量的大小對其性能有直接的影響) 2、真空泵用來作水泵引水用時,應將吸氣口聯接在水泵的排水口與管路閥門之間。 3、從電機端看泵為逆時針旋轉。(左邊為吸氣口,右邊為排氣)。SK-1.5B為順時針旋轉。 4、真空泵吸氣管道不可有漏氣現象,其地基尺寸以安裝圖或以實物測量進行安裝。 5、若安裝汽水分離器,可參看圖(3)。 |
|||||||||||||||||||||||||||||||||||
![]() 圖(3)安裝帶有汽水分離器的SK型直聯水環式真空泵結構圖 |
|||||||||||||||||||||||||||||||||||
十、SK型直聯水環式真空泵的使用維護: 1、SK型直聯水環式真空泵啟動前,須檢查電機旋轉方向是否與泵的旋轉方向相符。啟動真空泵后,再調節進水量的大小,然后檢查填料壓緊是否適當 (填料正常壓緊是能夠使泵中的水成滴的向外漏出),SK-1.5B應先加水再啟動真空泵,再調節進水量的大小,軸承運轉潤滑是否正常。 2、SK型直聯水環式真空泵啟動以后,須觀察是否有振動,細聽泵內是否有雜聲,并測定填料函和軸承溫度(正常軸承溫度不得比環境溫度高出35℃,工作溫度不得高于70℃)若溫度超高,應立即停車檢查原因。 3、SK型直聯水環式真空泵作為水泵真空引水用時,其運轉期間將水泵內的空氣全部吸出,直到水泵內吸出水來以后,即開動水泵,待水泵正常工作后將真空泵停車,并將吸氣管路的閥門關閉。 4、SK型直聯水環式真空泵停車順序: (1)關閉進氣管路上閘閥 (2)關閉供水管路上閘閥,停水后不宜立即停泵,應使泵繼續運轉1-2分鐘排出部分工作液。機械密封應先停泵再停水。 (3)關閉電動機。 (4)如果停車時間超過一天,須將SK型直聯水環式真空泵泵蓋底部的螺塞打開,將泵體內水放凈。 5、SK型直聯水環式真空泵在下列條件下使用時,應加附屬設備。 (1)被告抽除空氣或氣體中含有灰塵,必須在進氣管上安裝過濾器。 (2)被抽氣體中含有大量蒸氣時,必須在進氣管上安裝冷凝器。 (3)抽除帶有腐蝕性氣體時,在進入泵前必須進行中和。 (4)被抽氣體的溫度超過35℃時,在進入SK型直聯水環式真空泵前必須經過冷凝裝置,以保證溫度不超過35℃。 (5)被抽氣體中含有大量液體時,必須在進氣管前裝汽水分離器。 (6)泵的起動電流往往是電機額定電流幾倍,必須配用起動開關。 注:①本公司SK型直聯水環式真空泵隨技術改進等原因,不經預告可變更。 ②本公司SK型直聯水環式真空泵在保修期內不經本單位允許,不得隨意拆卸。 十一、SK型直聯水環式真空泵起動、停車與維護: |
感謝您訪問我們揚子江泵業的網站www.ixunmeng.cn,如有任何水泵疑問我們一定會盡心盡力為您提供優質的服務.










